Góc chia sẻ: Định nghĩa khái quát nhất về móng cọc
Trong quá trình xây dựng nhà hay công trình thì móng cọc chính là một yếu tố quan trọng nhất. Để có thể đảm bảo được an toàn cho nhà ở, công trình và đạt tiêu chuẩn thì việc dựng móng là điều rất quan trọng. Nhưng có chắc bạn đã biết rõ khái niệm, công dụng hay cấu tạo của chúng là gì? Nếu bạn vẫn chưa biết những vấn đề trên thì cùng mình tham khảo bài viết sau để hiểu hơn về chủ đề này nhé!
Khái niệm cụ thể về móng cọc?
Trong lĩnh vực xây dựng chắc chắn không ai xa lạ với tên loại móng này, loại móng sẽ được dùng với những dự án thi công nhỏ như nhà ở 2 tầng trở xuống. Hoặc có thể được đặt trên các nền đất yếu và cách nhận biết đơn giản qua đai móng hoặc cọc.
Trong xây dựng thì các loại móng được phân chia thành nhiều loại: móng cọc, móng đơn, móng băng. Với mỗi loại thì sẽ có riêng cho mình các đặc điểm và cách dùng khác nhau theo từng nhu cầu sử dụng.

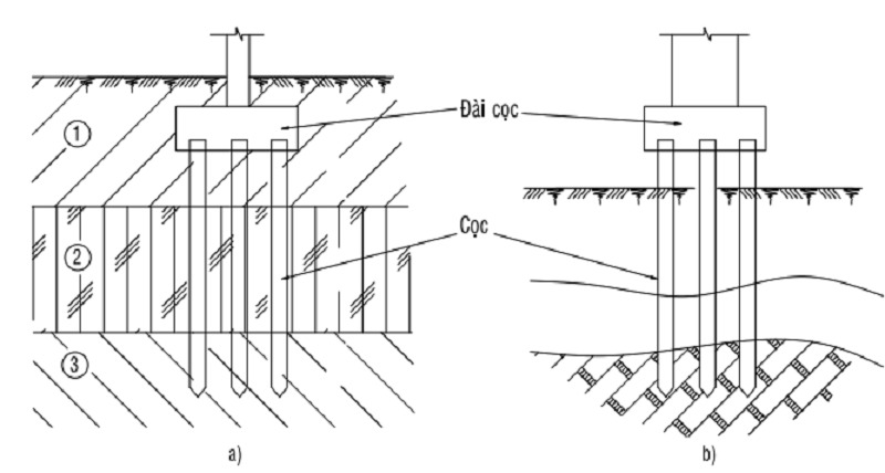
Khái niệm về móng cọc
Kèm theo nhiệm vụ quan trọng truyền tải lực ép từ phía công trình ở trên xuống dưới lớp đất đất của móng. Với tính chất đất của nước ta là đất nền yếu nên cần phải gia cố rồi mới tiến hành thi công phần móng. Biện pháp hiệu quả mà các công trình xây dựng hướng tới đó là gia cố bằng việc đóng cừ tràm, việc kết hợp như vậy sẽ giúp cho nền móng tăng thêm được sức chịu tải.
Phân biệt các loại móng cọc
Trong xây dựng hiện tại thì các loại móng này đã được chia thành 2 loại đơn giản để đáp ứng nhu cầu sử dụng như sau:
- Móng đài thấp: có cấu tạo đài cọc được đặt nằm dưới đất, với loại móng này nên đặt cho lực ngang móng bằng với trọng lực bị tác động lên bởi đất theo một độ sâu nhất định. Những cây cọc trong phần móng sẽ chịu hoàn toàn tổng lực nén không bởi tải trọng uốn.
- Móng đài cao: có cấu tạo đài cọc đặt cao hơn phía mặt đất, với chiều sâu móng buộc nhỏ hơn chiều cao cọc. Với loại móng đài cao này thì phải chịu cả hai lực nén và tải trọng uốn.

Phân biệt các loại đơn giản được dùng hiện nay
Cách thức để tạo nền móng cho công trinh ra sao?
Để có thể bước vào quá trình thi công một dự án công trình thì điều kiện bắt buộc phải có đó là có một bản vẽ thiết kế đạt đúng tiêu chuẩn. Với móng cọc cũng phải giống vậy, để có được một móng nền chắc chắn đảm bảo cần có bản vẽ đúng tiêu chuẩn.
Tiêu chuẩn kỹ thuật của dạng móng trong thiết kế
Bước đầu tiên ta nên xem xét qua địa hình, địa chất của vị trí công trình thi công rồi ta mới có thể chọn lựa được loại cọc phù hợp đạt chuẩn. Cần chọn loại cọc sao cho đảm bảo được kết cấu, khả năng chịu đựng lún, chịu trọng lực tốt.
Tiếp đến xem xét kết cấu của căn nhà đang xây xem xét số lượng tầng nhà, độ cứng, trọng lực có phù hợp với loại móng đó không. Đừng chỉ để ý mỗi khả năng chịu lực của loại cọc hoặc giá cả chúng mà ta lại bỏ đi những lợi ích từ kinh tế của dự án.

Tiêu chuẩn của móng trong yêu cầu xây dựng
Thiết kế móng cọc thấp
Loại móng được đặt thấp hơn so với mặt đất do đó mà quá trình xây dựng phải lưu ý đến những tính toán dưới đây:
- Kích thước của phần cọc và đài cọc
- Xác định cụ thể khả năng chịu lực tải của cọc tương thích với kích thước được chọn
- Cần tính toán xác định tương đương số cọc cần dùng
- Cách bố trí các loại cọc trong phần nền móng
Cần tính toán kỹ và phải thỏa mãn các điều kiện sau:
- Trạng thái bị giới hạn thứ nhất giữa sức chịu lực tải trên nền đất mũi cọc
- Tính toán móng dựa trên trạng thái bị giới hạn thứ hai và kiểm tra độ lún của đất, chuyển vị ngang
- Tính toán móng dựa trên trạng thái bị giới hạn thứ ba, kiểm tra kỹ lưỡng bài toán trong quá trình chịu trọng lực do quá trinh treo cọc hay vận chuyển.

Tính toán cẩn thận các điều kiện móng
Thiết kế dạng móng cọc nhà dân ít tầng
Với dạng móng dạng dân thường hay dùng cho các thi công kẹp khe trên phố hoặc những dự án xây dựng nhà ít tầng bình thường. Dạng cọc bê tông này sẽ có dạng hình chữ nhật sử dụng với những dự án có kẹp khe nền đất yếu. Giúp giảm một phần hiện trạng nứt mẻ tường bởi hai nhà đặt kề. Với hai loại cọc bê tông hiện nay sử dụng rộng rãi trên thị trường bao gồm:
- Cọc bê tông ly tâm với dạng hình cọc tròn: loại này sẽ có nhiều kích thước đường kính: D300, D350, D400, D500 và kèm theo 2 kiểu: PC #600, PHC #800
- Cọc bê tông vuông được đúc sẵn các loại: 200x200, 250x250, 300x300, 350x350, 400x400 những loại trên thường hay được sử dụng phổ biến.
Thiết kế dạng móng bằng cừ tràm
Sử dụng loại móng cừ tràm được xem là một trong số những biện pháp khá hiệu quả hay được dùng tại miền Nam. Thường dùng cho loại đất nền yếu có sở hữu diện tích nhỏ thì độ dài cọc tràm dài từ 3-6m. Cần để ý đến tình hình địa thế xung quanh đất bạn xây dựng dự án khi chọn sử dụng móng cừ tràm.
Đây là loại nguyên liệu dành cho xây dựng đơn giản cơ bản nhất hiện nay. Thông thường thì giá tràm sẽ rẻ hơn nhiều so với cọc bê tông, cũng dễ dàng thi công và vận chuyển hơn. Thích hợp cho các công trình xây dựng nhỏ và nhà ở dưới 5 tầng.
Quá trình thực hiện việc thi công làm móng
- Chọn lựa thi công ép cọc: quá trình này giúp bạn tiến hành việc thi công nhanh và đáp ứng được tiêu chuẩn
- Chuẩn bị kỹ lưỡng khu mặt bằng đất để tiến hành thi công
- Bắt đầu việc thi công ép móng
- Kiểm tra lại các yêu cầu kỹ thuật trong xây dựng
- Các biện pháp trong quá trình thi công cọc ép:
- Kiểm tra địa chất của tổng quan công trình xây dựng
- Đủ các vật liệu để tiến hành thi công
- Trang bị đủ các thiết bị xây dựng
- Chuẩn bị đủ máy để ép cọc

Cách thực hiện ép móng
- Các biện pháp trong quá trình làm móng:
- Kiểm tra và tiến hành việc đóng cọc
- Đào hố đất xung quanh phía để đặt móng
- Làm bằng khu đất dưới đáy móng
- Đổ các loại đất đá bê tông xuống để lót móng
- Kiểm định tối ưu trong quá trình lót móng
- Cắt phần đầu cọc dư và đổ bê tông xuống
- Đổ phần bê tông lót vào
- Ghép nối những phần cốp pha
- Tiếp tục đổ bê tông móng cho chắc chắn
- Cuối cùng tháo cốp pha ra
Dùng móng sử dụng cho công trình xây dựng nào?
Bạn cần biết rõ những điều kiện trong quá trình xây dựng để chọn được loại móng phù hợp cho nhà mình. Do vậy mình sẽ đưa ra những tình huống tham khảo cho nhà bạn nếu dùng móng cọc để xây dựng:
- Do điều kiện đất nền kém nên đất nhà bạn không thể đào được một độ sâu phù hợp theo yêu cầu xây dựng.
- Nơi bạn đang chuẩn bị thi công dự án gần hệ thống cấp thoát nước, kênh, sông …
- Căn nhà có trọng lực đè nặng, không phù hợp với cấu trúc nhà bạn dự định xây.
- Khu bạn định xây có mực nước ngầm khá cao so với quy định.
- Mặt nền khu đất có thể thay đổi do gân các bờ biển hay sông.

Các điều cần lưu ý khi thực hiện quá trình thi công
Những thông tin trên về hệ thống móng cọc vô cùng chi tiết có thể giúp bạn hiểu rõ về khái niệm, cấu tạo và quy trình khi sử dụng. Hy vọng những kiến thức trên sẽ giúp bạn xây dựng được bộ móng nhà mình vững chắc nhất.














